Toyota Yaris: Curtain Shield Airbag Assembly / Disposal

Toyota Yaris XP210 (2020-2026) Reapir and Service Manual / Vehicle Interior / Supplemental Restraint Systems / Curtain Shield Airbag Assembly / Disposal

DISPOSAL

CAUTION / NOTICE / HINT

CAUTION:

Before performing pre-disposal deployment of any SRS part, review and closely follow all applicable environmental and hazardous material regulations. Pre-disposal deployment may be considered hazardous material treatment.

HINT:

  • Use the same procedure for the RH and LH sides.
  • The procedure listed below is for the LH side.

PROCEDURE

1. PRECAUTION

CAUTION:

  • An airbag or pretensioner may be activated by static electricity. To prevent this, be sure to touch a metal surface with your bare hands to discharge static electricity before performing this procedure.
  • Do not perform this procedure indoors or on rough roads where safety cannot be ensured. Also, do not deploy SRS parts near residential areas.
  • If this procedure is performed indoors or on rough roads where safety cannot be ensured, unforeseen injuries may occur. Also, the deployment noise creates a nuisance to nearby residents.

HINT:

When scrapping a vehicle equipped with an SRS or disposing of the curtain shield airbag assembly, be sure to deploy the airbag first in accordance with the following procedure. If any abnormality occurs with the airbag deployment, contact the Service Department of the distributor.

2. DISPOSE OF CURTAIN SHIELD AIRBAG ASSEMBLY (When Installed to Vehicle)

NOTICE:

  • When disposing of a curtain shield airbag assembly, use an unneeded vehicle to deploy the airbag.
  • Be sure to perform the following procedure when deploying the airbag.

HINT:

Prepare a battery as the power source to deploy the airbag.

(a) Check the function of SST.

Click here

SST: 09082-00700

(b) Refer to Precaution.

Click here

(c) Disconnect the cable from the negative (-) auxiliary battery terminal.

Click here

  • Wait at least 90 seconds after disconnecting the cable from the negative (-) auxiliary battery terminal to disable the SRS system.
  • If the airbag deploys for any reason, it may cause a serious accident.

(d) Remove the roof headlining assembly.

Click here

(e) Disconnect the curtain shield airbag assembly connector.

NOTICE:

When disconnecting any airbag connector, take care not to damage the airbag wire harness.

HINT:

Refer to How to Connect or Disconnect Airbag Connector: Click here

(f) Install SST.

(1) After connecting the following SST to each other, connect them to the curtain shield airbag assembly.

SST: 09082-00700

SST: 09082-00802

09082-10801

09082-20801

NOTICE:

To avoid damaging SST connector or wire harness, do not lock the secondary lock of the twin lock.

CAUTION:

  • Do not deploy the curtain shield airbag assembly if it rattles due to looseness and the tightening bolts and clips, etc., for the inflator and deployment part of the curtain shield airbag assembly falling off.
  • Do not deploy the curtain shield airbag assembly if the deployment part fell off.
  • If the curtain shield airbag assembly is deployed when it rattles or parts have fallen off, the curtain shield airbag assembly may fly off and cause serious injuries.

(2) Move SST at least 10 m (32.8 ft.) away from the rear side window of the vehicle.

*a

10 m (32.8 ft.) or more

(3) Maintaining sufficient clearance for SST wire harness in the rear side window, close all doors and windows of the vehicle.

CAUTION:

  • Do not deploy with all the doors and door windows open.
  • If deployed with all the doors and door windows open, dust and gas may enter the eyes or be breathed in.

NOTICE:

Take care not to damage SST wire harness.

(4) Connect the red clip of SST to the positive (+) battery terminal and the black clip of SST to the negative (-) battery terminal.

(g) Deploy the airbag.

(1) Check that no one is inside the vehicle or within a 10 m (32.8 ft.) radius of the vehicle.

(2) Press SST activation switch to deploy the airbag.

CAUTION:

  • Do not deploy with people inside or around the vehicle.
  • If deployed with people inside or around the vehicle, serious injuries may occur.

HINT:

The airbag is deployed as the LED of SST activation switch comes on.

(h) Remove the curtain shield airbag assembly.

Click here

CAUTION:

  • The curtain shield airbag assembly becomes extremely hot when the airbag is deployed, so do not touch it for at least 30 minutes after deployment.
  • If not left alone for 30 minutes or more, burns may occur when touched.
  • Do not apply water etc. to a curtain shield airbag assembly with a deployed airbag.
  • If water is applied to the curtain shield airbag assembly immediately after deployment, burns may occur from the resulting steam.
  • Always wear safety glasses and gloves when handling a deployed curtain shield airbag assembly.
  • If the curtain shield airbag assembly is touched without wearing safety glasses and gloves, hot parts may cause burns and dust may enter the eyes.
  • After removal, quickly seal the curtain shield airbag assembly in a plastic bag.

(i) Dispose of the curtain shield airbag assembly.

(1) Place the curtain shield airbag assembly in a plastic bag, tie it tightly and dispose of it according to local regulations.

CAUTION:

  • The curtain shield airbag assembly becomes extremely hot when the airbag is deployed, so do not touch it for at least 30 minutes after deployment.
  • If not left alone for 30 minutes or more, burns may occur when touched.
  • Do not apply water etc. to a curtain shield airbag assembly with a deployed airbag.
  • If water is applied to the curtain shield airbag assembly immediately after deployment, burns may occur from the resulting steam.
  • Always wear safety glasses and gloves when handling a deployed curtain shield airbag assembly.
  • If the curtain shield airbag assembly is touched without wearing safety glasses and gloves, hot parts may cause burns and dust may enter the eyes.
  • Never dispose of a curtain shield airbag assembly with an undeployed airbag.
  • If an undeployed curtain shield airbag assembly is disposed of, and then deploys for any reason, unforeseen injuries may occur.
  • Always wash your hands with water after completing the operation.

3. DISPOSE OF CURTAIN SHIELD AIRBAG ASSEMBLY (When not Installed to Vehicle)

NOTICE:

Be sure to observe the following procedure when deploying the airbag.

HINT:

Prepare a battery as the power source to deploy the airbag.

(a) Check the function of SST.

Click here

SST: 09082-00700

(b) Refer to Precaution.

Click here

(c) Disconnect the cable from the negative (-) auxiliary battery terminal.

Click here

  • Wait at least 90 seconds after disconnecting the cable from the negative (-) auxiliary battery terminal to disable the SRS system.
  • If the airbag deploys for any reason, it may cause a serious accident.

(d) Remove the curtain shield airbag assembly.

Click here

(e) Cut off the deployment section of the curtain shield airbag assembly.

*a

Cut Here

  • Wear safety glasses and gloves.
  • The dust may enter the eyes or be breathed in.

*a

Wire Diameter

Stripped Wire Cross Sectional Area

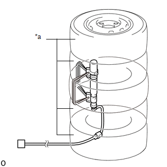
(f) Using braided wire, tie down the curtain shield airbag assembly to an unneeded tire.

Wire:

Cross-sectional area of stripped wire

1.25 mm2 (0.0019 in.2) or more

CAUTION:

If the wire harness is too thin or an alternative object is used to tie down the curtain shield airbag assembly, it may snap when the airbag is deployed. Always use a wire for vehicle use with a cross-sectional area of at least 1.25 mm2 (0.0019 in.2).

HINT:

To calculate the area of the cross-sectional area of stripped wire:

Area = 3.14 x (Diameter)2 / 4

(1) Position the curtain shield airbag assembly inside the tire with the outlet facing inside.

Minimum tire size:

Must exceed the following dimensions

Width

185 mm (7.28 in.)

Inner diameter

360 mm (1.18 ft.)

CAUTION:

  • Do not install the curtain shield airbag assembly with the outlet facing down.
  • When securing the curtain shield airbag assembly, make sure there is no looseness in the wire harness.
  • If installed with the outlet facing down or looseness in the wire harness, the deployed curtain shield airbag assembly and tire may fly off and cause serious injuries.

*a

Outlet

*b

Remove looseness

NOTICE:

The tire may be damaged by the airbag deployment, so use an unneeded tire.

*a

Width

*b

Inner Diameter

(g) Install SST.

(1) After connecting the following SST to each other, connect them to the curtain shield airbag assembly.

SST: 09082-00802

09082-10801

09082-20801

(h) Place the tires.

(1) Place at least 2 tires under the tire to which the curtain shield airbag assembly is tied.

Minimum Tire Size:

Width

185 mm (7.28 in.)

Inner Diameter

360 mm (1.18 ft.)

NOTICE:

Do not place SST connector under the tire because it could be damaged.

*a

Tires (2 or more)

(2) Place at least 2 tires onto the tire to which the curtain shield airbag assembly is tied. The top tire should have a wheel installed.

NOTICE:

The wheel and tires may be damaged by the airbag deployment, so use an unneeded wheel and tires.

(3) Tie the tires together with 2 wires.

(i) Install SST.

(1) Connect the SST connector.

SST: 09082-00700

NOTICE:

To avoid damaging SST connector or wire harness, do not lock the secondary lock of the twin lock. Also, secure some slack for SST wire harness inside the tire.

*a

10 m (32.8 ft.) or more

(2) Move SST at least 10 m (32.8 ft.) away from the airbag tied down to the tire.

(j) Deploy the airbag.

(1) Connect the red clip of SST to the positive (+) battery terminal and the black clip of SST to the negative (-) battery terminal.

(2) Check that no one is within a 10 m (32.8 ft.) radius of the tire to which the curtain shield airbag assembly is tied.

(3) Press SST activation switch to deploy the airbag.

CAUTION:

  • Do not deploy with people around the tire.
  • If deployed with people around the tire, serious injuries may occur.

HINT:

The airbag is deployed as the LED of SST activation switch comes on.

(k) Dispose of the curtain shield airbag assembly.

CAUTION:

  • The curtain shield airbag assembly becomes extremely hot when the airbag is deployed, so do not touch it for at least 30 minutes after deployment.
  • If not left alone for 30 minutes or more, burns may occur when touched.
  • Do not apply water etc. to a curtain shield airbag assembly with a deployed airbag.
  • If water is applied to the curtain shield airbag assembly immediately after deployment, burns may occur from the resulting steam.
  • Always wear safety glasses and gloves when handling a deployed curtain shield airbag assembly.
  • If the curtain shield airbag assembly is touched without wearing safety glasses and gloves, hot parts may cause burns and dust may enter the eyes.
  • Never dispose of a curtain shield airbag assembly with an undeployed airbag.
  • If an undeployed curtain shield airbag assembly is disposed of, and then deploys for any reason, unforeseen injuries may occur.
  • Always wash your hands with water after completing the operation.

(1) Remove the curtain shield airbag assembly from the tire.

(2) Place the curtain shield airbag assembly in a plastic bag, tie it tightly, and dispose of it according to local regulations.

    Installation

    INSTALLATION CAUTION / NOTICE / HINT HINT: Use the same procedure for the RH side and LH side. The following procedure is for the LH side. PROCEDURE 1...

    Front Airbag Sensor

    ..

    Other information:

    Toyota Yaris XP210 (2020-2026) Reapir and Service Manual: Parts Location


    PARTS LOCATION ILLUSTRATION *1 FRONT AIRBAG SENSOR LH *2 FRONT AIRBAG SENSOR RH *3 SIDE AIRBAG PRESSURE SENSOR LH *4 SIDE AIRBAG PRESSURE SENSOR RH *5 NO. 1 SIDE AIRBAG SENSOR LH *6 NO. 1 SIDE AIRBAG SENSOR RH ILLUSTRATION *1 FRONT SEAT OUTER BELT ASSEMBLY LH *2 FRONT SEAT OUTER BELT ASSEMBLY RH *3 CURTAIN SHIELD AIRBAG ASSEMBLY LH *4 CURTAIN SHIELD AIRBAG ASSEMBLY RH ILLUSTRATION *1 AIRBAG SENSOR ASSEMBLY *2 HORN BUTTON ASSEMBLY *3 SPIRAL CABLE SUB-ASSEMBLY *4 INSTRUMENT PANEL PASSENGER WITHOUT DOOR AIRBAG ASSEMBLY *5 FRONT SEAT AIRBAG ASSEMBLY LH *6 FRONT SEAT AIRBAG ASSEMBLY RH *7 TELLTALE LIGHT ASSEMBLY - PASSENGER AIRBAG ON/OFF INDICATOR *8 AIRBAG CUT OFF SWITCH CYLINDER SUB-ASSEMBLY *9 COMBINATION METER ASSEMBLY - SRS WARNING LIGHT *10 DLC3 *11 POWER DISTRIBUTION BOX ASSEMBLY - A/BAG-IGR FUSE - ECU-IGR NO...

    Toyota Yaris XP210 (2020-2026) Owner's Manual: Indicator Lights


    These lights turn on or flash to notify the user of the system operation status or a system malfunction. KEY Indicator Light   Wrench Indicator Light TCS/DSC Indicator Light DSC OFF Indicator Light Low Speed Pre-Collision System Indicator Light Low Speed Pre-Collision System OFF Indicator Light Low Engine Coolant Temperature Indicator Light Shift Position Indication Headlight High-Beam Indicator Light Turn Signal/Hazard Warning Indicator Lights Security Indicator Light Cruise Main Indication Cruise Set Indication/Indicator Light Select Mode Indicator Light Lights-On Indicator Light Front Passenger Air Bag Deactivation Indicator Light * 1: The light turns on when the ignition is switched on for an operation check, and turns off a few seconds later or when the engine is started...

    Categories

    Turning the Engine Off

    Stop the vehicle completely. Manual transaxle: Shift into neutral and set the parking brake.

    Automatic transaxle: Shift the selector lever to the P position and set the parking brake.

    Press the push button start to turn off the engine. The ignition position is off.

    read more

     
    Copyright © 2026 www.toyaris4.com