Toyota Yaris: Seat Belt / Tongue Plate Stopper

Toyota Yaris XP210 (2020-2026) Reapir and Service Manual / Vehicle Interior / Seat Belt / Tongue Plate Stopper

Components

COMPONENTS

ILLUSTRATION

*1

TONGUE PLATE STOPPER

-

-

Non-reusable part

-

-

Replacement

REPLACEMENT

PROCEDURE

1. REMOVE TONGUE PLATE STOPPER

(a) Slide the tongue plate above the installation position of the tongue plate stopper, and temporarily hold it with adhesive tape.

*a

Adhesive Tape

*b

Tongue Plate

*c

Broken Tongue Plate Stopper

(b) Remove any pieces of the original tongue plate stopper in the belt webbing with a pair of pliers.

NOTICE:

Be careful not to damage the belt webbing during repair.

2. INSTALL TONGUE PLATE STOPPER

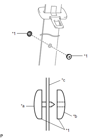
(a) Position a new tongue plate stopper in the hole of the belt webbing.

HINT:

Make sure that the installation direction of the tongue plate stopper is as shown in the illustration.

*1

Tongue Plate Stopper

*a

Male

*b

Female

*c

Belt Webbing

(b) Hold the tongue plate stopper in the hole of the belt webbing using an adjustable wrench, and turn the adjustment screw of the adjustable wrench by hand to compress the tongue plate stopper.

NOTICE:

  • When using the adjustable wrench, make sure to position the male and female parts of the tongue plate stopper parallel to each other.
  • Do not use pliers to compress the pin of the tongue plate stopper. They may damage the tongue plate stopper and belt webbing.

HINT:

Tape the jaws of the adjustable wrench before use.

*a

Protective Tape

(c) When the adjustment screw of the adjustable wrench can no longer be turned by hand, tighten the adjustment screw using a pair of adjustable joint pliers until the tongue plate stopper thickness is 4.5 to 5.0 mm (0.177 to 0.197 in.). (Refer to the illustrations.)

Standard Clearance

Area

Measurement

a

4.5 to 5.0 mm (0.177 to 0.197 in.)

(d) Make sure that the pin of male side of the tongue plate stopper has expanded evenly in the hole of the female part and is firmly held to the belt webbing. (Refer to the illustrations.)

*a

Correct

*b

Incorrect

    Rear Seat Belt Warning Light Malfunction

    DESCRIPTION The main body ECU (multiplex network body ECU) detects whether either the rear doors are open or closed based on the courtesy light switch condition and then sends the rear door status signal to the combination meter assembly...

    Supplemental Restraint Systems

    ..

    Other information:

    Toyota Yaris XP210 (2020-2026) Reapir and Service Manual: Components


    COMPONENTS ILLUSTRATION *1 NO. 2 HEATER TO REGISTER DUCT SUB-ASSEMBLY *2 PACKAGE TRAY TRIM PANEL ASSEMBLY *3 DECK BOARD ASSEMBLY *4 DECK FLOOR BOX RH *5 DECK FLOOR BOX LH *6 FRONT DOOR OPENING TRIM WEATHERSTRIP LH *7 FRONT DOOR OPENING TRIM WEATHERSTRIP RH - - ILLUSTRATION *1 LAP BELT OUTER ANCHOR COVER *2 FRONT SEAT OUTER BELT ASSEMBLY LH *3 FRONT SEAT OUTER BELT ASSEMBLY RH *4 REAR SEATBACK HINGE SUB-ASSEMBLY LH *5 REAR SEATBACK HINGE SUB-ASSEMBLY RH *6 QUARTER TRIM PANEL ASSEMBLY LH *7 QUARTER TRIM PANEL ASSEMBLY RH *8 CENTER PILLAR UPPER GARNISH LH *9 CENTER PILLAR UPPER GARNISH RH *10 DECK TRIM REAR COVER *11 DECK TRIM SIDE PANEL ASSEMBLY LH *12 DECK TRIM SIDE PANEL ASSEMBLY RH *13 REAR SEAT OUTER BELT ASSEMBLY LH *14 REAR SEAT OUTER BELT ASSEMBLY RH *15 INNER ROOF SIDE GARNISH LH *16 INNER ROOF SIDE GARNISH RH *17 ROOF SIDE INNER GARNISH LH *18 ROOF SIDE INNER GARNISH RH *19 NO...

    Toyota Yaris XP210 (2020-2026) Owner's Manual: To Turn Off an Armed System


    An armed system can be turned off using any one of the following methods: Pressing the unlock button on the smart key. Starting the engine with the push button start. With the advanced keyless function:Pressing a request switch on the doors...

    Categories

    Key Suspend Function

    If a key is left in the vehicle, the functions of the key left in the vehicle are temporarily suspended to prevent theft of the vehicle.

    To restore the functions, press the unlock button on the functions-suspended key in the vehicle.

    read more

     
    Copyright © 2026 www.toyaris4.com