Toyota Yaris: Rear Differential Carrier Assembly / Reassembly

Toyota Yaris XP210 (2020-2026) Reapir and Service Manual / Drivetrain / Axle And Differential / Rear Differential Carrier Assembly / Reassembly

REASSEMBLY

CAUTION / NOTICE / HINT

NOTICE:

  • Before installation, thoroughly clean and dry each part and then apply Toyota Genuine Differential gear oil LX SAE 75W-85 GL-5 or equivalent to them.
  • Do not use alkaline cleaner for aluminum or rubber parts and rear differential case bolts.
  • Do not clean rubber parts such as oil seals with non-residue solvent.
  • Use an overhaul stand as necessary.
  • Steps 8 to 15 are for temporary installation prior to adjustment.

PROCEDURE

1. INSTALL STRAIGHT PIN

(a) Using a plastic hammer, install the 4 straight pins to the rear differential carrier.

Protrusion (A):

8 to 9 mm (0.315 to 0.354 in.)

2. INSTALL REAR DIFFERENTIAL BREATHER PLUG OIL DEFLECTOR

(a) Install the rear differential breather plug oil deflector with the 2 bolts.

Torque:

6.5 N·m {66 kgf·cm, 58 in·lbf}

3. INSTALL DIFFERENTIAL RING GEAR

(a) Clean the contact surfaces of the rear differential case sub-assembly and differential ring gear.

(b) Heat the differential ring gear in boiling water.

CAUTION:

Make sure to wear protective gloves as the ring gear is extremely hot.

(c) Carefully remove the differential ring gear from the boiling water.

(d) After the moisture on the differential ring gear has completely evaporated, quickly temporarily install the differential ring gear to the rear differential case sub-assembly.

(e) Secure the rear differential case sub-assembly between aluminum plates in a vise.

NOTICE:

Do not overtighten the vise.

(f) Align the matchmarks on the rear differential case sub-assembly and differential ring gear, and install the differential ring gear.

HINT:

Align the bolt holes of the rear differential case sub-assembly and differential ring gear.

*a

Matchmark

(g) Temporarily install 12 new rear differential case bolts to which thread lock has been applied.

Adhesive:

Toyota Genuine Adhesive 1360K, Three Bond 1360K or equivalent.

(h) After the ring gear has cooled sufficiently, tighten the 12 new rear differential case bolts.

Torque:

98.6 N·m {1005 kgf·cm, 73 ft·lbf}

NOTICE:

  • New rear differential case bolts should be used every time the differential ring gear is installed.
  • Install the new rear differential case bolts by tightening diametrically opposite bolts uniformly in several passes.
  • Tighten the rear differential case bolts after the differential ring gear has cooled down sufficiently.
  • Do not allow any oil to contact the rear differential case bolt, differential ring gear threads or differential case seating surface.

4. INSTALL REAR DIFFERENTIAL CASE BEARING (for LH Side)

NOTICE:

New bearings are coated with anti-rust oil. If using new bearings, do not wash it off.

HINT:

  • Perform this step only when replacing the rear differential case bearing or rear differential case sub-assembly.
  • As the rear differential case bearing (LH side inner race) is damaged during removal, make sure to use a new one.

(a) Using SST and a press, install a new rear differential case bearing (LH side inner race) to the rear differential case sub-assembly.

SST: 09223-46011

NOTICE:

Replace the inner and outer races as a set.

5. INSTALL REAR DIFFERENTIAL CASE BEARING (for RH Side)

NOTICE:

New bearings are coated with anti-rust oil. If using new bearings, do not wash it off.

HINT:

Perform this step only when replacing the rear differential case bearing or rear differential case sub-assembly.

(a) Using SST and a press, install the rear differential case bearing (RH side inner race) to the rear differential case sub-assembly.

SST: 09223-46011

NOTICE:

Replace the inner and outer races as a set.

6. INSTALL REAR DRIVE PINION REAR BEARING

NOTICE:

New bearings are coated with anti-rust oil. If using new bearings, do not wash it off.

(a) Using SST, bolt, nut and washers, install the rear drive pinion rear tapered roller bearing (outer race) to the rear differential carrier.

SST: 09950-60011

09951-00500

09951-00530

SST: 09950-60021

09951-00680

09951-00890

NOTICE:

Replace the inner and outer races as a set.

Recommended Bolt, Nut:

Thread Diameter

12 mm (0.472 in.)

Thread Pitch

1.5 mm (0.0591 in.)

Bolt with Shaft Lengths

124 mm (4.88 in.)

*1

Rear Drive Pinion Rear Tapered Roller Bearing (Outer Race)

7. INSTALL REAR DRIVE PINION FRONT BEARING

NOTICE:

New bearings are coated with anti-rust oil. If using new bearings, do not wash it off.

(a) Using SST and a press, install the rear drive pinion front tapered roller bearing (outer race) to the rear differential carrier.

SST: 09950-60011

09951-00610

SST: 09950-70010

09951-07150

NOTICE:

Replace the inner and outer races as a set.

*1

Rear Drive Pinion Front Tapered Roller Bearing (Outer Race)

8. INSTALL REAR DRIVE PINION REAR BEARING

NOTICE:

New bearings are coated with anti-rust oil. If using new bearings, do not wash it off.

(a) Install the rear differential drive pinion plate washer to the differential drive pinion.

NOTICE:

Install each rear differential drive pinion plate washer to the position it was removed from.

*1

Rear Differential Drive Pinion Plate Washer

(b) Using SST and a press, install the rear drive pinion rear tapered roller bearing (inner race) to the differential drive pinion.

SST: 09506-30012

NOTICE:

Replace the inner and outer races as a set.

9. INSTALL REAR DIFFERENTIAL CASE BEARING (for LH Side)

NOTICE:

New bearings are coated with anti-rust oil. If using new bearings, do not wash it off.

HINT:

Replace the rear differential case bearing (LH side outer race) when removing the rear differential case bearing (LH side inner race) from the rear differential case sub-assembly.

(a) Using SST and a press, install the rear differential side gear shaft plate washer and rear differential case bearing (LH side outer race) to the differential side bearing retainer.

SST: 09950-60021

09951-00680

SST: 09950-70010

09951-07150

NOTICE:

  • Install each rear differential side gear shaft plate washer to the position it was removed from.
  • Replace the inner and outer races as a set.
  • Install the rear drive shaft oil seal LH after performing the tooth contact inspection and backlash adjustment.

*1

Rear Differential Case Bearing (Outer Race)

*2

Rear Differential Side Gear Shaft Plate Washer

10. INSTALL REAR DIFFERENTIAL CASE BEARING (for RH Side)

NOTICE:

New bearings are coated with anti-rust oil. If using new bearings, do not wash it off.

(a) Using SST and a press, install the rear differential side gear shaft plate washer and rear differential case bearing (RH side outer race) to the rear differential carrier.

SST: 09950-60021

09951-00680

SST: 09950-70010

09951-07150

NOTICE:

  • Install each rear differential side gear shaft plate washer to the position it was removed from.
  • Replace the inner and outer races as a set.
  • Install the rear drive shaft oil seal RH after performing the tooth contact inspection and backlash adjustment.

*1

Rear Differential Case Bearing (Outer Race)

*2

Rear Differential Side Gear Shaft Plate Washer

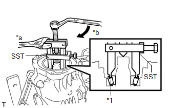
11. ADJUST DIFFERENTIAL DRIVE PINION PRELOAD

(a) Install the differential drive pinion with rear drive pinion rear tapered roller bearing (inner race) to the rear differential carrier.

(b) Apply hypoid gear oil LSD to the threads of a new rear drive pinion nut and its seating surface.

(c) Install the rear drive pinion front tapered roller bearing (inner race) and rear drive pinion nut to the differential drive pinion.

NOTICE:

  • New bearings are coated with anti-rust oil. If using new bearings, do not wash it off.
  • Replace the inner and outer races as a set.

(d) Using SST, gradually tighten the rear drive pinion nut until the specified preload is reached. Do not exceed the torque limit shown below.

SST: 09556-16011

SST: 09564-16020

Torque:

Specified tightening torque

321 N*m (3273 kgf*cm, 237 ft.*lbf) or less

NOTICE:

  • Install the rear differential drive pinion bearing spacer and diaphragm oil seal after adjusting the total preload (starting torque).
  • Tighten the rear drive pinion nut gradually. Never tighten it excessively.
  • This torque value is effective when SST is parallel to the torque wrench.

HINT:

  • Calculate the torque wrench reading when changing the fulcrum length of the torque wrench.

    Click here

  • When using SST (fulcrum length of 50 mm (1.97 in.)) + torque wrench (fulcrum length of 1100 mm (3.61 ft.)):

    307 N*m (3131 kgf*cm, 226 ft.*lbf) or less

*a

Turn

*b

Hold

*c

Torque Wrench Fulcrum Length

(e) Using SST and a torque wrench, measure the preload (starting torque) of the differential drive pinion.

SST: 09556-16011

Standard Drive Pinion Preload (Starting Torque):

New Bearing

1.83 to 3.04 N*m (19 to 30 kgf*cm, 17 to 26 in.*lbf)

Reused Bearing

1.51 to 2.52 N*m (16 to 25 kgf*cm, 14 to 22 in.*lbf)

HINT:

  • For a more accurate measurement, rotate the bearing forward and backward before inspection.
  • Make a note of the preload as it is required when rechecking the differential drive pinion preload (starting torque).

12. INSTALL REAR DIFFERENTIAL CASE ASSEMBLY

(a) Using a scraper and wire brush, remove the seal packing from the rear differential carrier and differential side bearing retainer.

NOTICE:

  • Do not damage the contact surface.
  • Be sure to completely remove all seal packing from the rear differential carrier and differential side bearing retainer.
  • Do not allow the removed seal packing to enter the rear differential carrier.

(b) Using a non-residue solvent, remove grease and oil from the contact surfaces of the rear differential carrier and differential side bearing retainer.

NOTICE:

Do not damage the contact surface.

(c) Install the rear differential case assembly to the rear differential carrier.

(d) Install the differential side bearing retainer to the rear differential carrier with the 10 bolts.

Torque:

42.2 N·m {430 kgf·cm, 31 ft·lbf}

13. INSPECT DIFFERENTIAL RING GEAR BACKLASH

(a) w/ LSD:

(1) Insert a dial indicator and magnetic base through the rear differential filler plug hole, and set it perpendicular to a differential ring gear tooth tip.

*1

Rear Differential Case Assembly

-

-

*a

Urethane

-

-

(2) Using SST, hold the differential drive pinion in place.

SST: 09556-16011

(3) Insert the urethane portion of SST until it reaches portion A shown in the illustration.

SST: 09564-52020

(4) Hold the B portion of SST and rotate the C portion, and continue expanding until the urethane portion of SST contacts the rear differential case assembly.

HINT:

If the urethane portion does not contact the rear differential case assembly, the rotation of SST and the rear differential case assembly will not be synchronized, and accurate measurement will be impossible.

(5) Using SST, rotate the rear differential case assembly forward and backward, and measure the backlash.

SST: 09564-52020

Backlash:

0.13 to 0.25 mm (0.00512 to 0.00984 in.)

HINT:

Measure at 3 or more areas on the circumference of the differential ring gear.

(6) If the result is not within the specified range, select rear differential side gear shaft plate washers that are thicker or thinner as necessary. Adjust the thickness of the left and right rear differential side gear shaft plate washers in equal increments. Then install the rear differential case bearing (outer race).

HINT:

  • Adjust the thickness of the LH and RH rear differential side gear shaft plate washers by the same amount each time until the backlash is within the standard range. If the thickness on the LH side is increased, decrease the thickness on the RH side, and if the thickness on the LH side is decreased, increase the thickness on the RH side.
  • When the backlash is smaller than the specified value, select a thick rear differential side gear shaft plate washer for the RH side and thin rear differential side gear shaft plate washer for the LH side.
  • When the backlash is larger than the specified value, select a thin rear differential side gear shaft plate washer for the RH side and thick rear differential side gear shaft plate washer for the LH side.

Rear Differential Side Gear Shaft Plate Washer:

Mark

Thickness

Mark

Thickness

75

1.74 to 1.76 mm (0.0686 to 0.0692 in.)

96

2.34 to 2.36 mm (0.0922 to 0.0929 in.)

76

1.77 to 1.79 mm (0.0697 to 0.0704 in.)

97

2.37 to 2.39 mm (0.0934 to 0.0940 in.)

77

1.80 to 1.82 mm (0.0709 to 0.0716 in.)

98

2.40 to 2.42 mm (0.0945 to 0.0952 in.)

78

1.83 to 1.85 mm (0.0721 to 0.0728 in.)

99

2.43 to 2.45 mm (0.0957 to 0.0964 in.)

79

1.86 to 1.88 mm (0.0733 to 0.0740 in.)

00

2.46 to 2.48 mm (0.0969 to 0.0976 in.)

80

1.89 to 1.91 mm (0.0745 to 0.0751 in.)

01

2.49 to 2.51 mm (0.0981 to 0.0988 in.)

81

1.92 to 1.94 mm (0.0756 to 0.0763 in.)

02

2.52 to 2.54 mm (0.0993 to 0.0999 in.)

82

1.95 to 1.97 mm (0.0768 to 0.0775 in.)

03

2.55 to 2.57 mm (0.1004 to 0.1011 in.)

83

1.98 to 2.00 mm (0.0780 to 0.0787 in.)

04

2.58 to 2.60 mm (0.1016 to 0.1023 in.)

84

2.01 to 2.03 mm (0.0792 to 0.0799 in.)

05

2.61 to 2.63 mm (0.1028 to 0.1035 in.)

85

2.04 to 2.06 mm (0.0804 to 0.0811 in.)

06

2.64 to 2.66 mm (0.1040 to 0.1047 in.)

86

2.07 to 2.09 mm (0.0815 to 0.0822 in.)

07

2.67 to 2.69 mm (0.1052 to 0.1059 in.)

88

2.10 to 2.12 mm (0.0827 to 0.0834 in.)

08

2.70 to 2.72 mm (0.1063 to 0.1070 in.)

89

2.13 to 2.15 mm (0.0839 to 0.0846 in.)

09

2.73 to 2.75 mm (0.1075 to 0.1082 in.)

90

2.16 to 2.18 mm (0.0851 to 0.0858 in.)

10

2.76 to 2.78 mm (0.1087 to 0.1094 in.)

91

2.19 to 2.21 mm (0.0863 to 0.0870 in.)

11

2.79 to 2.81 mm (0.1099 to 0.1106 in.)

92

2.22 to 2.24 mm (0.0875 to 0.0881 in.)

12

2.82 to 2.84 mm (0.1111 to 0.1118 in.)

93

2.25 to 2.27 mm (0.0886 to 0.0893 in.)

13

2.85 to 2.87 mm (0.1123 to 0.1129 in.)

94

2.28 to 2.30 mm (0.0898 to 0.0905 in.)

14

2.88 to 2.90 mm (0.1134 to 0.1141 in.)

95

2.31 to 2.33 mm (0.0910 to 0.0917 in.)

-

-

(b) w/o LSD:

(1) Insert a dial indicator and magnetic base through the rear differential filler plug hole, and set it perpendicular to a differential ring gear tooth tip.

(2) Using SST, hold the differential drive pinion in place.

SST: 09556-16011

(3) Using SST, rotate the rear differential case assembly forward and backward, and measure the backlash.

SST: 09564-32011

Backlash:

0.13 to 0.25 mm (0.00512 to 0.00984 in.)

HINT:

Measure at 3 or more areas on the circumference of the differential ring gear.

(4) If the result is not within the specified range, select rear differential side gear shaft plate washers that are thicker or thinner as necessary. Adjust the thickness of the left and right rear differential side gear shaft plate washers in equal increments. Then install the rear differential case bearing (outer race).

HINT:

  • Adjust the thickness of the LH and RH rear differential side gear shaft plate washers by the same amount each time until the backlash is within the standard range. If the thickness on the LH side is increased, decrease the thickness on the RH side, and if the thickness on the LH side is decreased, increase the thickness on the RH side.
  • When the backlash is smaller than the specified value, select a thick rear differential side gear shaft plate washer for the RH side and thin rear differential side gear shaft plate washer for the LH side.
  • When the backlash is larger than the specified value, select a thin rear differential side gear shaft plate washer for the RH side and thick rear differential side gear shaft plate washer for the LH side.

Rear Differential Side Gear Shaft Plate Washer:

Mark

Thickness

Mark

Thickness

75

1.74 to 1.76 mm (0.0686 to 0.0692 in.)

96

2.34 to 2.36 mm (0.0922 to 0.0929 in.)

76

1.77 to 1.79 mm (0.0697 to 0.0704 in.)

97

2.37 to 2.39 mm (0.0934 to 0.0940 in.)

77

1.80 to 1.82 mm (0.0709 to 0.0716 in.)

98

2.40 to 2.42 mm (0.0945 to 0.0952 in.)

78

1.83 to 1.85 mm (0.0721 to 0.0728 in.)

99

2.43 to 2.45 mm (0.0957 to 0.0964 in.)

79

1.86 to 1.88 mm (0.0733 to 0.0740 in.)

00

2.46 to 2.48 mm (0.0969 to 0.0976 in.)

80

1.89 to 1.91 mm (0.0745 to 0.0751 in.)

01

2.49 to 2.51 mm (0.0981 to 0.0988 in.)

81

1.92 to 1.94 mm (0.0756 to 0.0763 in.)

02

2.52 to 2.54 mm (0.0993 to 0.0999 in.)

82

1.95 to 1.97 mm (0.0768 to 0.0775 in.)

03

2.55 to 2.57 mm (0.1004 to 0.1011 in.)

83

1.98 to 2.00 mm (0.0780 to 0.0787 in.)

04

2.58 to 2.60 mm (0.1016 to 0.1023 in.)

84

2.01 to 2.03 mm (0.0792 to 0.0799 in.)

05

2.61 to 2.63 mm (0.1028 to 0.1035 in.)

85

2.04 to 2.06 mm (0.0804 to 0.0811 in.)

06

2.64 to 2.66 mm (0.1040 to 0.1047 in.)

86

2.07 to 2.09 mm (0.0815 to 0.0822 in.)

07

2.67 to 2.69 mm (0.1052 to 0.1059 in.)

88

2.10 to 2.12 mm (0.0827 to 0.0834 in.)

08

2.70 to 2.72 mm (0.1063 to 0.1070 in.)

89

2.13 to 2.15 mm (0.0839 to 0.0846 in.)

09

2.73 to 2.75 mm (0.1075 to 0.1082 in.)

90

2.16 to 2.18 mm (0.0851 to 0.0858 in.)

10

2.76 to 2.78 mm (0.1087 to 0.1094 in.)

91

2.19 to 2.21 mm (0.0863 to 0.0870 in.)

11

2.79 to 2.81 mm (0.1099 to 0.1106 in.)

92

2.22 to 2.24 mm (0.0875 to 0.0881 in.)

12

2.82 to 2.84 mm (0.1111 to 0.1118 in.)

93

2.25 to 2.27 mm (0.0886 to 0.0893 in.)

13

2.85 to 2.87 mm (0.1123 to 0.1129 in.)

94

2.28 to 2.30 mm (0.0898 to 0.0905 in.)

14

2.88 to 2.90 mm (0.1134 to 0.1141 in.)

95

2.31 to 2.33 mm (0.0910 to 0.0917 in.)

-

-

14. ADJUST TOOTH CONTACT BETWEEN RING GEAR AND DRIVE PINION

(a) Remove the 10 bolts and the differential side bearing retainer.

(b) Remove the rear differential case assembly from the rear differential carrier.

(c) Coat 3 or 4 teeth at 4 different positions on the differential ring gear with Prussian blue.

(d) Install the rear differential case assembly to the rear differential carrier.

(e) Install the differential side bearing retainer with the 10 bolts.

Torque:

42.2 N·m {430 kgf·cm, 31 ft·lbf}

(f) Turn the differential drive pinion at least 10 times.

(g) Remove the 10 bolts and the differential side bearing retainer.

(h) Remove the rear differential case assembly from the rear differential carrier.

(i) Inspect the tooth contact pattern.

*a

Proper Contact

*b

Heel Contact

*c

Face Contact

*d

Select washers that will bring the drive pinion closer to the ring gear

*e

Toe Contact

*f

Flank Contact

*g

Select washers that will bring the drive pinion away from the ring gear

-

-

HINT:

Check the tooth contact pattern at 2 or more positions on the circumference of the differential ring gear.

(j) Perform the following procedure for face or flank contact:

(1) If the result is not within the specified range, select rear differential side gear shaft plate washers that are thicker or thinner as necessary. Adjust the thickness of the left and right rear differential side gear shaft plate washers in equal increments. Then install the rear differential case bearing (outer race).

(2) Repeat the differential ring gear and differential drive pinion tooth contact pattern inspection.

HINT:

If the tooth contact pattern is not correct, reselect rear differential side gear shaft plate washers and reinspect the tooth contact pattern.

(3) Repeat the differential ring gear and differential drive pinion backlash inspection.

HINT:

If the differential ring gear and differential drive pinion backlash are not as specified, reselect the rear differential drive pinion plate washer and then readjust the differential drive pinion preload, differential ring gear and differential drive pinion backlash and reinspect the tooth contact pattern.

(k) Perform the following procedure for heel or toe contact:

(1) Select a rear differential drive pinion plate washer again and install the rear drive pinion rear tapered roller bearing (inner race).

Rear Differential Drive Pinion Plate Washer:

Mark

Thickness

Mark

Thickness

41

1.695 to 1.705 mm (0.0667 to 0.0671 in.)

73

1.975 to 1.985 mm (0.0778 to 0.0781 in.)

43

1.715 to 1.725 mm (0.0675 to 0.0679 in.)

75

1.995 to 2.005 mm (0.0785 to 0.0789 in.)

45

1.735 to 1.745 mm (0.0683 to 0.0687 in.)

77

2.015 to 2.025 mm (0.0793 to 0.0797 in.)

47

1.755 to 1.765 mm (0.0690 to 0.0695 in.)

79

2.035 to 2.045 mm (0.0801 to 0.0805 in.)

49

1.775 to 1.785 mm (0.0699 to 0.0703 in.)

81

2.055 to 2.065 mm (0.0809 to 0.0813 in.)

51

1.795 to 1.805 mm (0.0707 to 0.0711 in.)

83

2.075 to 2.085 mm (0.0817 to 0.0821 in.)

53

1.815 to 1.825 mm (0.0715 to 0.0719 in.)

85

2.095 to 2.105 mm (0.0825 to 0.0829 in.)

55

1.835 to 1.845 mm (0.0722 to 0.0726 in.)

87

2.115 to 2.125 mm (0.0833 to 0.0837 in.)

57

1.855 to 1.865 mm (0.0730 to 0.0734 in.)

89

2.135 to 2.145 mm (0.0841 to 0.0844 in.)

59

1.875 to 1.885 mm (0.0738 to 0.0742 in.)

91

2.155 to 2.165 mm (0.0848 to 0.0852 in.)

61

1.895 to 1.905 mm (0.0746 to 0.0750 in.)

93

2.175 to 2.185 mm (0.0856 to 0.0860 in.)

63

1.915 to 1.925 mm (0.0754 to 0.0758 in.)

95

2.195 to 2.205 mm (0.0864 to 0.0868 in.)

65

1.935 to 1.945 mm (0.0762 to 0.0766 in.)

97

2.215 to 2.225 mm (0.0873 to 0.0875 in.)

71

1.955 to 1.965 mm (0.0770 to 0.0774 in.)

99

2.235 to 2.245 mm (0.0880 to 0.0883 in.)

*1

Rear Differential Drive Pinion Plate Washer

(l) Readjust the differential drive pinion preload, differential ring gear and differential drive pinion backlash and reinspect the tooth contact pattern.

15. INSPECT TOTAL PRELOAD

(a) Using SST and a torque wrench, measure the total preload (starting torque) with the teeth of the differential drive pinion and differential ring gear in contact.

SST: 09556-16011

Standard Total Preload (Starting Torque):

New Bearing

3.12 to 5.86 N*m (32 to 59 kgf*cm, 28 to 51 in.*lbf)

Reused Bearing

2.80 to 5.34 N*m (29 to 54 kgf*cm, 25 to 47 in.*lbf)

HINT:

For a more accurate measurement, rotate the rear differential case bearing forward and backward before measuring.

(b) If the results are not within the specification, perform the procedure below:

(1) Select a thicker or thinner rear differential side gear shaft plate washer for the RH side, and then install the rear differential case bearing outer race (RH side only).

(2) Repeat the total preload measurement.

(3) Repeat the differential ring gear and differential drive pinion backlash inspection.

(4) Repeat the differential ring gear and differential drive pinion tooth contact pattern inspection.

16. REMOVE DIFFERENTIAL SIDE BEARING RETAINER

(a) Remove the 10 bolts and differential side bearing retainer.

17. REMOVE REAR DIFFERENTIAL CASE ASSEMBLY

(a) Remove the rear differential case assembly from the rear differential carrier.

18. REMOVE DIFFERENTIAL DRIVE PINION

(a) Using SST, hold the differential drive pinion in place and remove the rear drive pinion nut from the differential drive pinion.

SST: 09556-16011

SST: 09564-16020

*a

Turn

*b

Hold

(b) Using SST, remove the rear drive pinion front tapered roller bearing (inner race) from the differential drive pinion.

SST: 09556-40010

NOTICE:

Do not drop the differential drive pinion.

*1

Rear Drive Pinion Front Tapered Roller Bearing (Inner Race)

*a

Hold

*b

Turn

19. INSTALL REAR DIFFERENTIAL DRIVE PINION BEARING SPACER

(a) Install a new rear differential drive pinion bearing spacer to the differential drive pinion.

HINT:

Face the smaller inside diameter towards the front of the vehicle.

20. INSTALL REAR DIFFERENTIAL DRIVE PINION OIL SLINGER

(a) Install the rear differential drive pinion oil slinger to the differential drive pinion.

21. INSTALL DIFFERENTIAL DRIVE PINION

(a) Install the differential drive pinion to the rear differential carrier.

22. TEMPORARILY TIGHTEN REAR DRIVE PINION NUT

(a) Apply hypoid gear oil LSD to the threads of the rear drive pinion nut and its seating surface.

(b) Temporarily install the rear drive pinion front tapered roller bearing (inner race) and rear drive pinion nut to the differential drive pinion.

(c) Using SST, temporarily tighten the rear drive pinion nut to the differential drive pinion.

SST: 09556-16011

SST: 09564-16020

*a

Turn

*b

Hold

23. ADJUST DIFFERENTIAL DRIVE PINION PRELOAD

(a) Using SST and a torque wrench, inspect the differential drive pinion preload (starting torque).

SST: 09556-16011

Standard Drive Pinion Preload (Starting Torque):

New Bearing

1.83 to 3.04 N*m (19 to 30 kgf*cm, 17 to 26 in.*lbf)

Reused Bearing

1.51 to 2.52 N*m (16 to 25 kgf*cm, 14 to 22 in.*lbf)

HINT:

  • For a more accurate measurement, rotate the bearing forward and backward before adjustment.
  • Set the preload to that noted down during the temporary adjustment.

(b) If the preload is insufficient, use SST to tighten the rear drive pinion nut 5° to 10° at a time. Measure the drive pinion preload and repeat the adjustment as necessary until the preload matches the specified torque.

SST: 09556-16011

SST: 09564-16020

Torque:

Specified tightening torque

321 N*m (3273 kgf*cm, 237 ft.*lbf) or less

NOTICE:

  • Tighten the rear drive pinion nut gradually. Never tighten it excessively.
  • This torque value is effective when SST is parallel to the torque wrench.

HINT:

  • Calculate the torque wrench reading when changing the fulcrum length of the torque wrench.

    Click here

  • When using SST (fulcrum length of 50 mm (1.97 in.)) + torque wrench (fulcrum length of 1100 mm (3.61 ft.)):

    307 N*m (3131 kgf*cm, 226 ft.*lbf) or less

*a

Turn

*b

Hold

*c

Torque Wrench Fulcrum Length

(c) If the tightening torque of the rear drive pinion nut exceeds the specified torque but the preload is still insufficient, remove the rear drive pinion nut. Then check if the rear drive pinion nut and differential drive pinion screw threads are damaged.

(d) If no damage is found, replace the rear differential drive pinion bearing spacer, apply hypoid gear oil LSD to rear drive pinion nut threads and its seating surface, and repeat the procedure above.

24. INSTALL REAR DIFFERENTIAL CASE ASSEMBLY

(a) Install the rear differential case assembly to the rear differential carrier.

25. INSTALL DIFFERENTIAL SIDE BEARING RETAINER

(a) Install the differential side bearing retainer to the rear differential carrier with the 10 bolts.

Torque:

42.2 N·m {430 kgf·cm, 31 ft·lbf}

26. INSPECT DIFFERENTIAL RING GEAR BACKLASH

(a) w/ LSD:

(1) Insert a dial indicator and magnetic base through the rear differential filler plug hole, and set it perpendicular to a differential ring gear tooth tip.

*1

Rear Differential Case Assembly

-

-

*a

Urethane

-

-

(2) Using SST, hold the differential drive pinion in place.

SST: 09556-16011

(3) Insert the urethane portion of SST until it reaches portion A shown in the illustration.

SST: 09564-52020

(4) Hold the B portion of SST and rotate the C portion, and continue expanding until the urethane portion of SST contacts the rear differential case assembly.

HINT:

If the urethane portion does not contact the rear differential case assembly, the rotation of SST and the rear differential case assembly will not be synchronized, and accurate measurement will be impossible.

(5) Using SST, rotate the rear differential case assembly forward and backward, and measure the backlash.

SST: 09564-52020

Backlash:

0.13 to 0.25 mm (0.00512 to 0.00984 in.)

HINT:

Measure at 3 or more areas on the circumference of the differential ring gear.

(b) w/o LSD:

(1) Insert a dial indicator and magnetic base through the rear differential filler plug hole, and set it perpendicular to a differential ring gear tooth tip.

(2) Using SST, hold the differential drive pinion in place.

SST: 09556-16011

(3) Using SST, rotate the rear differential case assembly forward and backward, and measure the backlash.

SST: 09564-32011

Backlash:

0.13 to 0.25 mm (0.00512 to 0.00984 in.)

HINT:

Measure at 3 or more areas on the circumference of the differential ring gear.

27. INSPECT TOTAL PRELOAD

(a) Using SST and a torque wrench, measure the total preload (starting torque) with the teeth of the differential drive pinion and differential ring gear in contact.

SST: 09556-16011

Standard Total Preload (Starting Torque):

New Bearing

3.12 to 5.86 N*m (32 to 59 kgf*cm, 28 to 51 in.*lbf)

Reused Bearing

2.80 to 5.34 N*m (29 to 54 kgf*cm, 25 to 47 in.*lbf)

HINT:

For a more accurate measurement, rotate the rear differential case bearing forward and backward before measuring.

(b) If the results are not within the specification, perform the procedure below:

(1) Select a thicker or thinner rear differential side gear shaft plate washer for the RH side, and then install the rear differential case bearing outer race (RH side only).

(2) Repeat the total preload measurement.

(3) Repeat the differential ring gear and differential drive pinion backlash inspection.

(4) Repeat the differential ring gear and differential drive pinion tooth contact pattern inspection.

28. REMOVE DIFFERENTIAL SIDE BEARING RETAINER

(a) Remove the 10 bolts and differential side bearing retainer.

29. INSTALL DIFFERENTIAL SIDE BEARING RETAINER

(a) Using a non-residue solvent, remove grease and oil from the contact surfaces of the rear differential carrier and differential side bearing retainer.

NOTICE:

Do not damage the contact surface.

(b) Apply seal packing to the areas indicated in the illustration of the rear differential carrier.

Seal Packing:

Toyota Genuine Seal Packing 1281, Three Bond 1281 or equivalent

NOTICE:

  • Start applying seal packing within range (A).
  • Make sure that the clearance from the center of the bead is within 1 mm (0.0394 in.).
  • Apply seal packing in a continuous bead 2 to 3 mm (0.0787 to 0.118 in.) in diameter.
  • If there is an area where seal packing is not applied in a continuous bead, be sure to apply seal packing by overlapping the ends of the bead at least 10 mm (0.394 in.).
  • Stop applying seal packing after allowing it to overlap with the beginning of the bead by at least 10 mm (0.394 in.) within range (A) in the illustration.
  • Install the differential side bearing retainer within 10 minutes of applying seal packing. If the differential side bearing retainer is not installed within 10 minutes of applying seal packing, completely remove and then reapply seal packing.
  • After installing the differential side bearing retainer, do not add oil or drive the vehicle for at least 1 hour. In addition, avoid sudden acceleration and deceleration for a minimum of 12 hours.

*a

2.0 mm (0.0787 in.)

*b

3.0 mm (0.118 in.)

*c

20 mm (0.787 in.)

*d

2 to 3 mm (0.0787 to 0.118 in.)

(c) Install the differential side bearing retainer to the rear differential carrier with the 10 bolts.

Torque:

42.2 N·m {430 kgf·cm, 31 ft·lbf}

30. INSPECT TOTAL PRELOAD

(a) Using SST and a torque wrench, measure the total preload (starting torque) with the teeth of the differential drive pinion and differential ring gear in contact.

SST: 09556-16011

Standard Total Preload (Starting Torque):

New Bearing

3.12 to 5.86 N*m (32 to 59 kgf*cm, 28 to 51 in.*lbf)

Reused Bearing

2.80 to 5.34 N*m (29 to 54 kgf*cm, 25 to 47 in.*lbf)

HINT:

For a more accurate measurement, rotate the rear differential case bearing forward and backward before measuring.

31. INSPECT DIFFERENTIAL RING GEAR BACKLASH

(a) w/ LSD:

(1) Insert a dial indicator and magnetic base through the rear differential filler plug hole, and set it perpendicular to a differential ring gear tooth tip.

*1

Rear Differential Case Assembly

-

-

*a

Urethane

-

-

(2) Using SST, hold the differential drive pinion in place.

SST: 09556-16011

(3) Insert the urethane portion of SST until it reaches portion A shown in the illustration.

SST: 09564-52020

(4) Hold the B portion of SST and rotate the C portion, and continue expanding until the urethane portion of SST contacts the rear differential case assembly.

HINT:

If the urethane portion does not contact the rear differential case assembly, the rotation of SST and the rear differential case assembly will not be synchronized, and accurate measurement will be impossible.

(5) Using SST, rotate the rear differential case assembly forward and backward, and measure the backlash.

SST: 09564-52020

Backlash:

0.13 to 0.25 mm (0.00512 to 0.00984 in.)

HINT:

Measure at 3 or more areas on the circumference of the differential ring gear.

(b) w/o LSD:

(1) Insert a dial indicator and magnetic base through the rear differential filler plug hole, and set it perpendicular to a differential ring gear tooth tip.

(2) Using SST, hold the differential drive pinion in place.

SST: 09556-16011

(3) Using SST, rotate the rear differential case assembly forward and backward, and measure the backlash.

SST: 09564-32011

Backlash:

0.13 to 0.25 mm (0.00512 to 0.00984 in.)

HINT:

Measure at 3 or more areas on the circumference of the differential ring gear.

32. INSTALL REAR DRIVE PINION NUT

(a) Using a chisel and a hammer, stake the rear drive pinion nut as shown in the illustration.

33. INSTALL DIAPHRAGM OIL SEAL

(a) Using SST and a press, install a new diaphragm oil seal into the rear differential carrier assembly.

SST: 09506-35010

SST: 09554-22010

NOTICE:

  • Install the diaphragm oil seal uniformly.
  • Press fit the diaphragm oil seal straight.
  • Do not damage the diaphragm oil seal.
  • Do not excessively press in the diaphragm oil seal.
  • Make sure to install the diaphragm oil seal as specified, otherwise a malfunction such as an oil leak may occur.

Standard Distance (A):

0.7 to 1.3 mm (0.0276 to 0.0511 in.)

*1

Diaphragm Oil Seal

(b) Apply a light coat of MP grease to the lip of the new diaphragm oil seal.

34. INSTALL REAR DRIVE SHAFT OIL SEAL LH

(a) Using SST and a press, install a new rear drive shaft oil seal LH into the differential side bearing retainer.

SST: 09223-46011

SST: 09631-32020

NOTICE:

  • Install the rear drive shaft oil seal LH uniformly.
  • Press fit the rear drive shaft oil seal LH straight.
  • Do not damage the rear drive shaft oil seal LH.
  • Do not excessively press in the rear drive shaft oil seal LH.
  • Make sure to install the rear drive shaft oil seal LH as specified, otherwise a malfunction such as an oil leak may occur.

Standard Distance (A):

8.2 to 8.8 mm (0.323 to 0.346 in.)

*1

Rear Drive Shaft Oil Seal LH

(b) Apply a light coat of MP grease to the lip of the new rear drive shaft oil seal LH.

35. INSTALL REAR DRIVE SHAFT OIL SEAL RH

(a) Using SST and a press, install a new rear drive shaft oil seal RH into the rear differential carrier.

SST: 09223-46011

SST: 09631-32020

NOTICE:

  • Install the rear drive shaft oil seal RH uniformly.
  • Press fit the rear drive shaft oil seal RH straight.
  • Do not damage the rear drive shaft oil seal RH.
  • Do not excessively press in the rear drive shaft oil seal RH.
  • Make sure to install the rear drive shaft oil seal RH as specified, otherwise a malfunction such as an oil leak may occur.

Standard Distance (A):

8.2 to 8.8 mm (0.323 to 0.346 in.)

*1

Rear Drive Shaft Oil Seal RH

(b) Apply a light coat of MP grease to the lip of the new rear drive shaft oil seal RH.

36. INSTALL TRANSMISSION COUPLING SPACER

(a) Install the transmission coupling spacer to the rear differential carrier assembly.

NOTICE:

Keep the transmission coupling spacer free of oil and foreign matter.

*1

Transmission Coupling Spacer

37. INSTALL TRANSMISSION COUPLING CONICAL SPRING WASHER

(a) Install the transmission coupling conical spring washer to the rear differential carrier assembly as shown in the illustration.

*1

Transmission Coupling Conical Spring Washer

Front of the vehicle

NOTICE:

Keep the transmission coupling conical spring washer free of oil and foreign matter.

HINT:

Make sure that the concave side is facing the front of the vehicle.

38. INSTALL REAR DIFFERENTIAL DUST DEFLECTOR

(a) Align the matchmarks on the rear differential dust deflector and electro magnetic control coupling sub-assembly, and temporarily install the rear differential dust deflector.

*a

Matchmark

(b) Using SST and a press, install the rear differential dust deflector.

SST: 09223-15030

SST: 09950-70010

09951-07150

Standard Distance (A):

0 to 0.6 mm (0 to 0.0236 in.)

NOTICE:

  • Make sure to fully install the rear differential dust deflector to the bearing.
  • Do not damage the end surface of the electro magnetic control coupling sub-assembly.

HINT:

If the end surface of the electro magnetic control coupling sub-assembly is damaged while installing the rear differential dust deflector, replace the electro magnetic control coupling sub-assembly with a new one.

*1

Bearing

39. INSTALL ELECTRO MAGNETIC CONTROL COUPLING SUB-ASSEMBLY

(a) Using a scraper and wire brush, remove the seal packing from the rear differential carrier assembly and electro magnetic control coupling sub-assembly.

NOTICE:

  • Do not damage the contact surface.
  • Be sure to completely remove all seal packing from the rear differential carrier assembly and electro magnetic control coupling sub-assembly.
  • Do not allow the removed seal packing to enter the rear differential carrier assembly and electro magnetic control coupling sub-assembly.

(b) Using a non-residue solvent, remove grease and oil from the contact surfaces of the rear differential carrier assembly and the electro magnetic control coupling sub-assembly.

NOTICE:

Do not damage the contact surface.

(c) Apply seal packing to the areas indicated in the illustration of the rear differential carrier assembly.

Seal Packing:

Toyota Genuine Seal Packing 1281, Three Bond 1281 or equivalent

NOTICE:

  • Start applying seal packing within range (A).
  • Make sure that the clearance from the center of the bead is within 1 mm (0.0394 in.).
  • Apply seal packing in a continuous bead 2 to 3 mm (0.0787 to 0.118 in.) in diameter.
  • If there is an area where seal packing is not applied in a continuous bead, be sure to apply seal packing by overlapping the ends of the bead at least 10 mm (0.394 in.).
  • Stop applying seal packing after allowing it to overlap with the beginning of the bead by at least 10 mm (0.394 in.) within range (A) in the illustration.
  • Install the electro magnetic control coupling sub-assembly within 10 minutes of applying seal packing. If the electro magnetic control coupling sub-assembly is not installed within 10 minutes of applying seal packing, completely remove and then reapply seal packing.
  • Do not add differential oil or drive the vehicle within 1 hour or rapidly accelerate or decelerate the vehicle within 12 hours of installing the electro magnetic control coupling sub-assembly.

*a

20 mm (0.787 in.)

*b

1.0 mm (0.0394 in.)

*c

1.4 mm (0.0551 in.)

*d

3.0 mm (0.118 in.)

*e

2.0 mm (0.0787 in.)

(d) Install the electro magnetic control coupling sub-assembly with the 4 bolts.

Torque:

19.6 N·m {200 kgf·cm, 14 ft·lbf}

NOTICE:

  • Do not damage the diaphragm oil seal.
  • Do not damage the contact surface of the rear differential carrier assembly and electro magnetic control coupling sub-assembly.

40. INSTALL REAR DIFFERENTIAL CARRIER COVER BREATHER PLUG

(a) Using a socket wrench, service nut and a hammer, install a new rear differential carrier cover breather plug to the rear differential carrier.

HINT:

  • Use a service nut with an inner diameter of 13 mm (0.512 in.) and a socket wrench appropriate for the service nut.
  • Tap in the rear differential carrier cover breather plug until it sits flush with the rear differential carrier assembly.

*1

Rear Differential Carrier Cover Breather Plug

*a

Service Nut

*b

Socket Wrench

41. INSPECT RUNOUT OF ELECTRO MAGNETIC CONTROL COUPLING SUB-ASSEMBLY

(a) w/ LSD:

(1) Install a dial indicator and magnetic base perpendicular to the inner side of the electro magnetic control coupling sub-assembly as shown in the illustration.

*1

Rear Differential Case Assembly

-

-

*a

Vertical Runout

*b

Lateral Runout

*c

Urethane

-

-

(2) Insert the urethane portion of SST until it reaches portion A shown in the illustration.

SST: 09564-52020

(3) Hold the B portion of SST and rotate the C portion, and continue expanding until the urethane portion of SST contacts the rear differential case assembly.

HINT:

If the urethane portion does not contact the rear differential case assembly, the rotation of SST and the rear differential case assembly will not be synchronized, and accurate measurement will be impossible.

(4) Using SST, rotate the electro magnetic control coupling sub-assembly forward and backward, and measure the vertical runout.

SST: 09564-52020

Maximum Runout:

0.06 mm (0.00236 in.)

If the runout is greater than the maximum value, replace the electro magnetic control coupling sub-assembly.

(5) Install a dial indicator and magnetic base perpendicular to the electro magnetic control coupling sub-assembly as shown in the illustration.

(6) Using SST, rotate the electro magnetic control coupling sub-assembly forward and backward, and measure the lateral runout.

SST: 09564-52020

Maximum Runout:

0.07 mm (0.00276 in.)

If the runout is greater than the maximum value, replace the electro magnetic control coupling sub-assembly.

(b) w/o LSD:

(1) Install a dial indicator and magnetic base perpendicular to the inner side of the electro magnetic control coupling sub-assembly as shown in the illustration.

*a

Vertical Runout

*b

Lateral Runout

(2) Using SST, rotate the electro magnetic control coupling sub-assembly forward and backward, and measure the vertical runout.

SST: 09564-32011

Maximum Runout:

0.06 mm (0.00236 in.)

If the runout is greater than the maximum value, replace the electro magnetic control coupling sub-assembly.

(3) Install a dial indicator and magnetic base perpendicular to the electro magnetic control coupling sub-assembly as shown in the illustration.

(4) Using SST, rotate the electro magnetic control coupling sub-assembly forward and backward, and measure the lateral runout.

SST: 09564-32011

Maximum Runout:

0.07 mm (0.00276 in.)

If the runout is greater than the maximum value, replace the electro magnetic control coupling sub-assembly.

42. INSTALL STUD BOLT

(a) Temporarily install 4 new stud bolts to the electro magnetic control coupling sub-assembly.

NOTICE:

  • Make sure to install the longer bolt on the magnetic control coupling sub-assembly side.
  • Prevent foreign matter from entering the electro magnetic control coupling sub-assembly.

*a

Upper Nut

*b

Lower Nut

*c

Hold

*d

Turn

(b) Install 2 service nuts to the stud bolt.

Recommended Service Nut:

Thread Diameter

10 mm (0.394 in.)

Thread Pitch

1.0 mm (0.0394 in.)

HINT:

  • Lock the upper nut using the lower nut.
  • If the threads of the electro magnetic control coupling sub-assembly are damaged while installing the stud bolt, replace the electro magnetic control coupling sub-assembly with a new one.

(c) Turn the upper nut and tighten the other 3 stud bolts to the electro magnetic control coupling sub-assembly in the same way.

Torque:

9.8 N·m {100 kgf·cm, 87 in·lbf}

Standard Distance (A):

22.55 to 25.85 mm (0.888 to 1.017 in.)

43. INSTALL REAR DIFFERENTIAL FILLER PLUG

(a) Install a new gasket and the rear differential filler plug.

Torque:

49 N·m {500 kgf·cm, 36 ft·lbf}

44. INSTALL CONNECTOR BRACKET

(a) Install a new clamp to the connector bracket as shown in the illustration.

(b) Install the 2 connector brackets with the 3 bolts.

Torque:

19.6 N·m {200 kgf·cm, 14 ft·lbf}

45. INSTALL ELECTRO MAGNETIC CONTROL COUPLING WIRE HARNESS

(a) Install a new clamp to the electro magnetic control coupling wire harness as shown in the illustration.

NOTICE:

Be sure to align the clamp with the identification mark.

Standard Distance (A):

76.5 to 82.5 mm (3.02 to 3.24 in.)

*a

Identification Mark

*b

Clamp

*c

Width of Clamp

(b) Engage the claw to install the electro magnetic control coupling wire harness connector.

(c) Engage the electro magnetic control coupling wire harness to the clamp (A).

(d) Engage the clamp (B) to the connector bracket.

(e) Connect the temperature sensor connector.

NOTICE:

Do not damage the electro magnetic control coupling wire harness.

    Disassembly

    DISASSEMBLY CAUTION / NOTICE / HINT NOTICE: Before installation, thoroughly clean and dry each part and then apply Toyota Genuine Differential gear oil LX SAE 75W-85 GL-5 or equivalent to them...

    Installation

    INSTALLATION PROCEDURE 1. INSTALL REAR DIFFERENTIAL SUPPORT (a) Install the differential support to the rear differential carrier assembly with 3 new bolts...

    Other information:

    Toyota Yaris XP210 (2020-2026) Reapir and Service Manual: Battery Circuit or Ground Circuit Energization Malfunction (B228B00)


    DESCRIPTION This DTC is stored when there is a malfunction in the certification ECU (smart key ECU assembly) auxiliary battery power supply circuit or ground circuit. DTC No. Detection Item DTC Detection Condition Trouble Area Note B228B00 Battery Circuit or Ground Circuit Energization Malfunction A malfunction is detected in the certification ECU (smart key ECU assembly) auxiliary battery power supply circuit or ground circuit...

    Toyota Yaris XP210 (2020-2026) Reapir and Service Manual: Installation


    INSTALLATION CAUTION / NOTICE / HINT HINT: Use the same procedure for the RH side and LH side. The following procedure is for the LH side. PROCEDURE 1. INSTALL REAR DISC (a) Check the identification marks and confirm the installation positions...

    Categories

    Fuel-Filler Lid and Cap

    WARNING

    When removing the fuel-filler cap, loosen the cap slightly and wait for any hissing to stop, then remove it

    Fuel spray is dangerous. Fuel can burn skin and eyes and cause illness if ingested. Fuel spray is released when there is pressure in the fuel tank and the fuel-filler cap is removed too quickly.

    read more

     
    Copyright © 2026 www.toyaris4.com